沃尔玛智能购物车专利:可监测心率体温等数据

[复制链接]
查看: 11575|回复: 0

482

主题

81

回帖

1618

积分

金牌会员

积分
1618
发表于 2018-10-15 16:10:10 | 显示全部楼层 |阅读模式
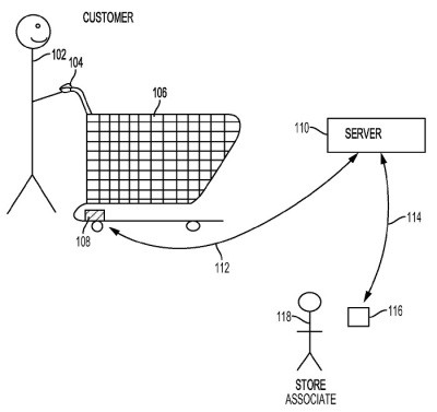
【PChome智能硬件频道资讯报道】目前,心率、体温的生物数据的监测主要集中在智能穿戴产品中,而近日,零售巨头沃尔玛申请了一项智能购物车专利,该购物车将能够监测用户心率、体温、施加在握柄上的力度、氧饱和度、上一次抓住握柄的时间、甚至购物车的推行速度。
沃尔玛方面认为,借助生物识别,该智能购物车将使用户享受到更好的服务,例如公司会派遣员工帮助可能陷入困难的老年人或患者。
不过,也有相关人士指出,该服务可能会带来一些不必要的隐私数据泄露,沃尔玛可能会将其应用到营销领域。不过,目前该这款智能购物车还只是停留在专利阶段。
编辑点评:对于巨头公司来说,专利布局十分重要,随着生物识别的普及,人们对这类信息的保守态度或许也会发生改变。

回复

使用道具 举报

您需要登录后才可以回帖 登录 | 立即注册

本版积分规则

返回顶部 关注微信 返回列表